耐火磚的作用是保護回轉窯窯體免受較大熱損害,通常具有一定的使用周期。一般情況下,在窯內耐火磚砌筑使用標準磚,砌筑封頂磚、接頭磚和彎道磚時,若用原磚不能滿足封口要求時,要求對標準磚進行切割使用加工磚。因此,加工磚加工質量好壞直接影響整條回轉窯耐火磚砌筑質量。
傳統切磚機是德國進口設備,設備比較龐大,重量達到5噸,并需要設置用機房,托運比較不方便;傳統的切磚機放置用機房,耐火磚在加工過程中需要來回倒運,費工費時并且傳統的磚機,加工時粉塵較大,對操作人員身體存在潛在危害。

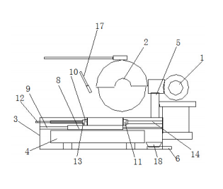
一種適用于水泥回轉窯耐火磚的切磚機,包括電機以及電機驅動的切割砂輪,其特征在于:切割砂輪下部設有磚體切割托臺,磚體切割托臺中設有磚體固定臺,在磚體固定臺上部設有磚體夾緊結構,在切割砂輪與磚體切割臺之間的粉塵收集器,磚體切割托臺內還設置有粉塵吸出管道。
該切磚機優點:1、該切磚機重量僅為200公斤,托運比較方便;
2、方便操作,減少耐火磚來回倒運工作量,減少人工成本,設置了夾轉裝置,加工質量能夠滿足砌筑要求;
3、增加了收塵裝置使得加工時粉塵大大減少,保護了作業人員身體不受傷害。